How to Put Up a Roller Blind
Do you want to know how to put up roller blinds? Well, we've created this easy-to-follow guide, which includes simple instructions and images, as well as lists of tools and safety equipment you'll need. So, check it out below!
Table of Contents
What Tools Do I Need to Fit a Roller Blind?
Below is a list of the tools that you will need for a roller blind installation:
- Step ladder
- Tape measure
- Pencil
- Straight edge
- Wallpaper scissors
- Hacksaw
- Drill
- Bradawl
- Pipe and wire detector
- Screwdriver
What Safety Equipment Do I Need to Fit a Roller Blind?
Below is a list of the safety equipment that you will need for a roller blind fitting:
- Safety mask
- Safety goggles
What Materials Do I Need to Install a Roller Blind?
Below is a list of materials that you will need when fitting a new roller blind:
- Roller blind
- Brackets
- Screws
- Rawl plugs
How to Prepare for a Roller Blind Installation
To prepare for installing a roller blind, you must begin by purchasing a suitable roller blind. If your roller blind is too large, you may need to cut it down to size, so make sure you buy one that can be cut down.
How to Put Up a Roller Blind Yourself
Below is a step by step guide on how to fit a roller blind to the inside of the recess of your window:
Step 1
Measure the inside of the recess so that you know how much you will need to cut off your blind. Don't forget to leave a little bit of room on each side so that the blind can move up and down freely without touching any of the sides of the recess.
Step 2
Take the end bead off the bottom of the blind and then roll the blind out onto a flat, clean surface with the back of the blind facing up.
Step 3
Put a mark on the back of the blind using a pencil at the point where it needs to be cut. Put intermittent marks all the way up the blind so that you know exactly where it needs to be cut all the way along.
Place a final mark on the roller itself. Now, use a straight edge to join up your pencil marks and create a straight line where you need to cut.
Step 4
Use scissors to carefully cut along the pencil line on the roller blind fabric. Once you have cut the fabric, you will then need to cut the roller using a hack saw. Then, cut the same amount off the bottom bead using your hack saw.
Step 5
You now need to decide from which side you would like to control your blind. Locate the pull cord and the bracket that fits to it. The bracket that fits into the pull cord is the one that should be fitted to the side where you would like your blind control to be.
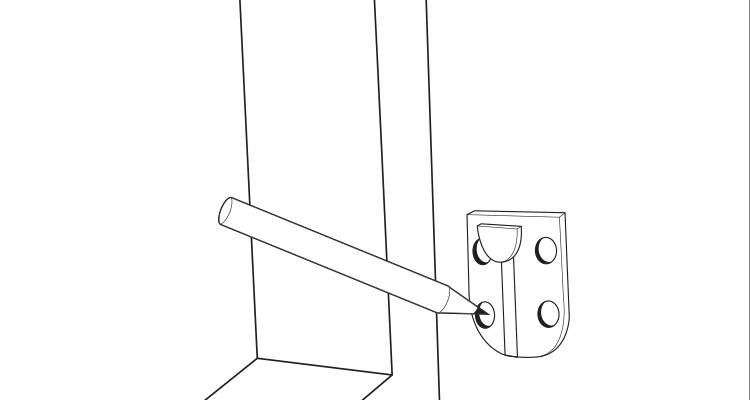
Step 6
Put your bracket into position on the timber. Don't forget to leave enough space above it so that your blind can roll-up. Once you're happy with the position, put a mark at the top and bottom of your bracket so that you know where your bracket screws will need to go.
Step 7
Use a drill to fit your bracket to the wall with screws. Then, repeat this same process for the bracket on the other side of the window.
Step 8
Now, fit the end caps to the blind itself and then lift it into position. Your blind is now fully in place.
Step 9
Before the job is finished, however, you will need to fix the pull cord to the wall using the fixing that comes with your blind. This needs to be done as the pull cord can be a hazard for children.
Step 10
Hold your safety bracket in place on the wall and mark the screw holes. Before you screw into the wall, check for wires and pipes using a pipe and cable detector.
Step 11
Finally, drill the holes for your safety bracket fitting. Then, push the wall plugs into the holes. You can then screw in the bracket and feed your roller blind chain through it.
FAQs
How do you make a roller blind?
Below is a simple step by step guide on how to make a roller blind:
- Measure and cut out your roller blind fabric so that it's 1cm less than the width of the metal roller and 3cm longer than the drop you require. Fold and pin it with a channel along the bottom and with the sides together, then stitch it in place.
- Peg your fabric outside and spray it with fabric stiffener, then leave it to dry.
- Stick the fabric's top edge to some double-sided tape on the roller and secure it in place. Place the bottom bar in its channel. Roll the blind up with the wrong side facing outwards. Push the chain mechanism into one side of the top of the roller and pin it to the other side.
- Fit your brackets to the window area where your blind is going to go and then hang your new blind in place.
What is the best way to remove a roller blind?
Below is a simple step by step guide on how to remove a roller blind:
- Roll the blind all the way up and then remove the screw from the lower chain safety clip.
- Locate the safety clamp on one side of the roller and open up the clamp.
- Lift the roller out of both brackets.
- Use a screwdriver to take out the screws that hold the brackets in place and then remove the brackets.
Do roller blinds help to keep the heat in?
Which way should roller blinds face?
Can roller blinds be fitted outside the recess?
Sources
https://www.youtube.com/watch?v=j6DBMn0OQm0
https://www.idealhome.co.uk/diy-and-decorating/punchy-pattern-make-a-gorgeous-roller-blind-in-3-easy-steps-27118
https://weloveblinds.com/information/roller-blinds-faqs
https://www.makemyblinds.co.uk/blog/post/roller-blinds-faq


